Đánh giá tổng quan về Samsung Galaxy Note 8 trước khi ra mắt
Samsung Galaxy Note 8 sẽ là smartphone đẹp nhất thế giới
Theo lời của một viên chức của Samsung, Galaxy Note 8 sẽ không đúng với những tin đồn trước đó, tin đồn là có một máy quét vân tay được thiết kế dưới kính hiển thị. Nhà xuất bản Hàn Quốc News1 đã cho biết câu chuyện trích dẫn từ một quan chức giấu tên của Samsung, họ đã nói; "Chúng tôi đã cố gắng để cài đặt một bộ cảm biến dấu vân tay hiển thị trên Galaxy Note 8, nhưng chúng tôi quyết định không cài đặt nó trên điện thoại flagship này do những hạn chế kỹ thuật khác nhau như bảo mật."

Galaxy Note 8 - Smartphone cao cấp nhất của Samsung
Điều đó có nghĩa là, một lần nữa, giống như Galaxy S8, một cảm biến vân tay trên màn hình đã được lên kế hoạch, nhưng nó đã bị loại bỏ vì Samsung không thể thực hiện nó một cách thỏa đáng. Điều đó có nghĩa là chúng ta sẽ có một cảm biến vân tay gắn ở phía sau, gần máy ảnh một lần nữa sau S8. Mặc dù một số người dùng, kể cả chúng tôi, đang sử dụng cảm biến vân tay của Galaxy S8, nhiều người cũng phàn nàn rằng đó là một nơi khó xử khi đặt cảm biến vân tay, vì cảm biến không đồng đều ở một bên ống kính máy ảnh. Samsung có thể đặt nó ở cùng vị trí, hoặc nó có thể đáp ứng những lời chỉ trích này bằng cảm biến có vị trí trung tâm hoặc có thể di chuyển nó trở lại phía trước màn hình. Tuy nhiên, chúng tôi nhận thấy sự khó chịu trên sau này không có gì đáng chú ý vì sự nổi bật của Infinity Display trong thiết kế hiện tại của Samsung do đó cảm biến vân tay đặt ở mặt trước sẽ làm xấu đi thiết kế của máy quá nhiều.
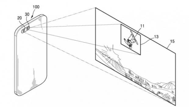
Chúng ta đã nghe nói rằng Galaxy Note 8 sẽ được trang bị màn hình 6.3in và bây giờ tin đồn đã được nhắc lại một lần nữa, tuy nhiên, có một số chi tiết mới trong thời gian gần đây. Theo các nguồn tin trên Weibo, Galaxy Note 8 sẽ có tỷ lệ màn hình tương tự 18,5: 9 trên Galaxy S8 ( và LG G6 ), một yếu tố sẽ làm cho Galaxy Note 8 to hơn các phiên bản trước. Các tipster cũng cho biết thêm rằng nó sẽ tính năng một máy ảnh cảm biến kép trên ở mặt sau của máy

Samsung Galaxy Note 8 là sản phẩm được chờ đợi nhất của Samsung trong nhiều năm qua. Cùng xem ngay các tính năng đang được mong đợi ở dòng sản phẩm này tại bài viết 8 tính năng nổi bật được mong đợi trên Samsung Galaxy Note 8
Note 8 được trang bị con chip mạnh nhất thế giới
Galaxy Note 8 có thể là chiếc điện thoại đầu tiên được trang bị con chip Snapdragon 836. Điều này thật thú vị bởi vì Qualcomm chưa bao giờ công bố con chip Snapdragon 836. Galaxy S8 phiên bản Mỹ đã chạy Snapdragon 835, nhưng có vẻ như Galaxy Note 8 sẽ có một chút tăng hiệu suất từ một phiên bản mới hơn. Nó có thể sẽ tương tự như sự khác nhau giữa Snapdragon 820 và 821 trong năm 2016.
Bạn có thể nhận thấy thiết kế máy ảnh cảm biến kép khá phổ biến vào năm 2016, nó đã xuất hiện trên một số điện thoại, bao gồm iPhone 7 Plus, LG G5, Huawei P9 và Huawei Mate 9. HTC là hãng đầu tiên ra mắt thị trường với công nghệ này trong thời gian vừa qua. Có thể Note 8 sẽ là thiết bị có camera kép đầu tiên của Samsung.

Đã có rất nhiều tin đồn về khá nhiều nhà sản xuất chính và các thiết bị cao cấp sắp tới của họ bao gồm công nghệ máy ảnh kép tại một số điểm hay khác. Tuy nhiên, cho đến nay, mặc dù Galaxy S và Galaxy Note series đã được đồn đại về công nghệ máy ảnh kép, cho đến nay Samsung vẫn chưa nhảy vào thị trường.
Cùng tham khảo thêm dòng sản phẩm liên quan Siêu phẩm Samsung S23 series new:
Samsung Galaxy S25 Ultra 256GB chính hãng
Di động Galaxy S23 Plus trả góp