Apple Watch tương lai có thể dùng pin để cung cấp phản hồi xúc giác
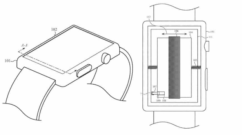
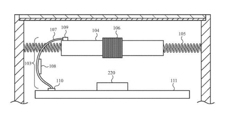
Theo các báo cáo gần đây, Apple đang nghiên cứu cách di chuyển pin của Apple Watch để cung cấp phản hồi xúc giác cho người đeo. Apple gần đây đã công bố bằng sáng chế cho “Thiết bị điện tử di động với thiết bị xúc giác có phần tử pin di động”.

Đơn xin cấp bằng sáng chế của Apple nói rằng:
“Nói chung, các thiết bị điện tử bao gồm một hoặc nhiều nút hoặc công tắc cơ điện để cung cấp đầu vào. Một số thiết bị bao gồm cảm biến cảm ứng hoặc màn hình cảm ứng để nhận đầu vào. Tuy nhiên, cảm biến cảm ứng thường thiếu phản hồi cơ học để cảnh báo người dùng rằng đầu vào đã được phản hồi.
Bằng sáng chế này hướng đến một thiết bị xúc giác có thể di chuyển phần tử pin của nó để tạo ra các xung hoặc rung động xúc giác dọc theo bề mặt bên ngoài của thiết bị”
Chúng ta có thể thấy hình ảnh bằng sáng chế sử dụng sự rung động của pin giữa các lò xo để tạo ra phản hồi xúc giác. Không rõ liệu phương pháp này có thể đạt được mức phản hồi xúc giác theo yêu cầu của Apple Watch hay không.

Apple Watch hiện tại sử dụng Taptic Engine để đạt được phản hồi xúc giác, tuy nhiên, điều này chiếm rất nhiều không gian. Nếu chế độ rung của pin hoạt động tốt, nó có thể sẽ làm tăng dung lượng pin và tuổi thọ pin.

Apple Watch Series 7 sẽ hỗ trợ kiểm tra đường huyết
Theo báo cáo từ Hàn Quốc, Apple Watch Series 7 có kế hoạch theo dõi lượng đường trong máu thông qua cảm biến quang học. Như chúng ta đã biết, theo dõi mức đường huyết đóng một vai trò quan trọng trong việc ngăn ngừa và kiểm soát bệnh tiểu đường và các bệnh khác. Tuy nhiên, việc đo đường huyết hiện nay cần phải sử dụng các thiết bị chuyên nghiệp như máy đo đường huyết hoặc máy đo đường huyết cấy ghép.
Theo báo cáo nói rằng Apple đã nhận được bằng sáng chế về theo dõi đường huyết. Ngành công nghiệp cũng tin rằng cảm biến quang học của Apple có thể đạt được khả năng giám sát liên tục mà không cần cấy ghép.

Hơn nữa, Apple còn có hẳn một đội ngũ kỹ sư y sinh và chuyên gia tư vấn. Loại này đã có mặt từ năm 2017 và họ sẽ chuyên về các cảm biến theo dõi đường huyết không thể cấy ghép. Còn có báo cáo cho rằng cảm biến đang được thử nghiệm tại các cơ sở lâm sàng ở Khu vực Vịnh San Francisco.
Cũng có báo cáo cho rằng Apple Watch mới sẽ sử dụng màn hình micro LED với phản hồi xúc giác và các nút ở trạng thái rắn. Tuy nhiên, vẫn chưa có thông tin chính thức nào về Apple Watch Series 7.
Bạn nghĩ sao về thông tin trên sau khi đọc bài viết này? chia sẻ ngay với 24hStore ở mục bình luận nha. Ngoài ra, nếu bạn muốn sở hữu cho mình một chiếc Apple Watch như Apple Watch SE 2 2024 cho riêng mình với mức giá cực kỳ tốt thì đừng ngại mà gọi ngay đến số Hotline: 1900.0351 để được nhân viên của 24hStore tư vấn và hỗ trợ nhiệt tình nhất nhé!
Tham khảo các siêu phẩm đình đám bán chạy nhất nhà "Táo" vừa cập bến tại 24hStore:
- Mua iPhone 16 Series
- Apple iPhone 15
- iPhone 14 chính hãng
- Điện thoại iPhone máy cũ đẹp
- Airpods Pro 2 2023
Apple Watch Series 6 - 40mm - GPS - mặt nhôm, dây cao su | Chính hãng VN/A
Liên hệ