Apple để lộ bằng sáng chế iPhone màn hình cong
Trong một bằng sáng chế mới bị rò rỉ của mình, Apple xem xét các cách mới để tạo ra một màn hình có thể được lắp đặt trên một bề mặt cong. iPhone màn hình cong trong tương lai rất có thể sẽ trở thành sự thật thông qua bằng sáng chế này.
.jpg)
Nhìn chung, điện thoại thông minh và các thiết bị di động khác có hình dạng vuông, mặc dù nhiều nhà sản xuất đã thử nghiệm với màn hình uốn và cong ở các cạnh nhưng nếu bạn nhìn vào iPhone, tất cả các mẫu hiện tại đều có thiết kế màn hình phẳng, kết thúc bằng một góc 90 độ.
Một màn hình thông thường bao gồm các cấu trúc xếp chồng lên nhau, bao gồm một lớp bóng bán dẫn màng mỏng để xem pixel, một lớp màu để thêm màu vào pixel, một bảng để cho phép đầu vào cảm ứng và một lớp kính để che phủ toàn bộ các phần bên dưới. Mặc dù có thể dễ dàng xếp chồng các phần tử đó lên một mặt phẳng, nhưng nó có thể trở nên khó khăn trên một bề mặt cong.
Bằng sáng chế iPhone màn hình cong của Apple
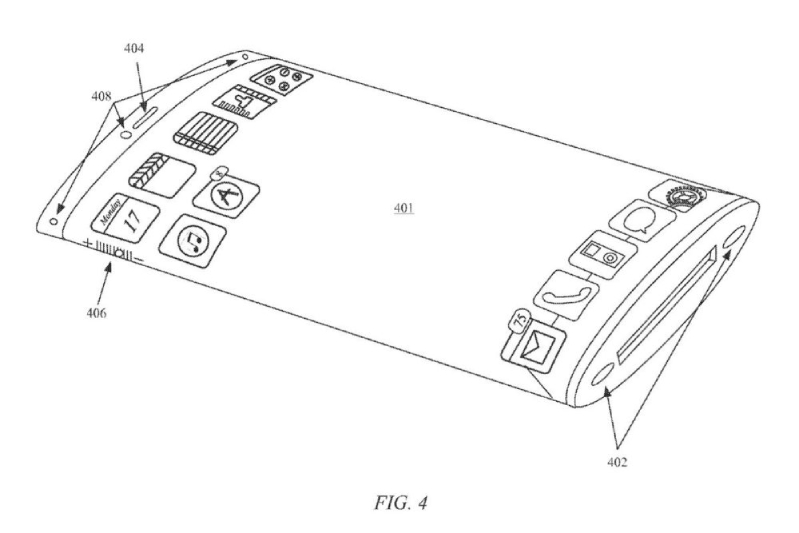
Trong một bằng sáng chế do Văn phòng thương hiệu và sáng chế Hoa Kỳ cấp hôm thứ ba tuần rồi có tên “Thiết bị điện tử có màn hình lồi”, Apple cho thấy một thiết bị có thể bao gồm màn hình bên ngoài trên một mặt phẳng cong, và đây chắc chắn là ý tưởng cho chiếc iPhone màn hình cong trong tương lai. Tóm lại, Apple gợi ý rằng một hoặc nhiều lớp linh hoạt có thể được thêm lên trên một bề mặt có hình dạng cong, hoặc lõm ở phía dưới trên một nắp cứng và lồi. Một bộ cảm biến xúc giác được xếp chồng lên nhau bên trên hoặc bên dưới lớp màn hình linh hoạt cùng với lớp bảo vệ bên ngoài, nó vẫn có thể có cấu trúc hỗ trợ bên trong, hoàn thiện ngăn xếp tùy thuộc vào cấu trúc.
.jpg)
Bằng sáng chế một thiết bị màn hình cong được cho là iPhone trong tương lai của Apple
Đi vào chi tiết của bằng sáng chế, màn hình có thể được làm bằng tấm nền OLED hoặc LCD linh hoạt, lớp phủ cứng hoặc vỏ có thể được làm bằng kính, trong khi lớp gia cố có thể được làm bằng kim loại. Phần còn lại cũng có thể được hưởng lợi từ chất nền polyme dẻo, để ứng dụng dễ dàng hơn trên các thành phần khác trong ngăn xếp.
Mỗi lớp này có thể được làm khá mỏng, với các lớp linh hoạt của màn hình và cảm biến cảm ứng có thể dày từ 10 micron đến 0,5 mm. Một màn hình linh hoạt và một bảng điều khiển cảm ứng sẽ được chèn vào giữa lớp kính bảo vệ và cấu trúc hỗ trợ.
So với các bằng sáng chế tương tự khác liên quan đến việc áp dụng các màn hình bất thường trong thiết kế của điện thoại thông minh, bằng sáng chế iPhone màn hình cong này có vẻ nhẹ về các chi tiết liên quan đến việc sản xuất thực tế của tấm nền. Có vẻ như bằng sáng chế đề xuất thêm cách tạo ra loại màn hình này để hỗ trợ ý tưởng chế tạo điện thoại thông minh hoặc thiết bị di động có thân hình trụ tròn
.jpg)
Nhiều hình ảnh và tuyên bố được viết trong bằng sáng chế cho thấy những ưu điểm của công nghệ màn hình mới này. Màn hình dạng cong cũng có thể làm cho thiết bị trông mỏng hơn và có khả năng cho phép vùng xem lớn hơn, với một phần chuyên dụng bao quanh các cạnh và ở mặt sau. Ngoài ra, các thành phần nhỏ hơn có thể được định vị tối ưu trong các phần hẹp hơn của thân máy.
Rõ ràng, sự hiện diện của một bằng sáng chế của điện thoại iPhone cũ màn hình cong ở thời điểm hiện tại không mang lại sự đảm bảo về việc một chiếc iPhone chính hãng giá rẻ như thế sẽ được ra mắt trong thời gian tới, tuy nhiên nó vẫn là một cơ sở mà Apple phát triển công nghệ mới đó trong tương lai. Đây cũng có thể là một cơn mưa rào cho cơn sốt điện thoại màn hình gập đang càn quét trong khoảng thời gian vừa qua.
24hStore.vn chuyên cung cấp các sản phẩm công nghệ chất lượng nhất với mức giá ưu đãi nhất thị trường hân hạnh mang đến cho bạn bài viết này. Hãy gọi ngay Hotline 1900 0351 để được tư vấn hoặc ghé trực tiếp các cửa hàng thuộc hệ thống 24hStore.vn để được nhận những ưu đãi mới nhất trong tháng bạn nhé!
Xem thêm: 5 tính năng iPhone 12 nên học hỏi từ Galaxy Note 20 Ultra
Tham khảo các siêu phẩm đình đám bán chạy nhất nhà "Táo" vừa cập bến tại 24hStore:
- Sắm ngay iPhone 16 128GB chính hãng, giá rẻ, lấy liền tại TP.HCM