iPhone 14 sẽ được Apple trang bị ống kính tiềm vọng với khả năng zoom quang 10x?
Hiện tại, có khá nhiều flagship Android đã sở hữu ống kính tiềm vọng mang đến khả năng zoom ấn tượng, trong đó dòng iPhone của Apple vẫn chỉ mắc kẹt ở khả năng zoom đến 2.5x.
Tuy nhiên, điều này sẽ sớm thay đổi khi Apple mới đây vừa được cấp bằng sáng chế camera mới. Nhờ bằng sáng chế này, tương lai những chiếc giá iPhone chính hãng VN/A, có thể là loạt iPhone 14 ra mắt vào năm 2022 sẽ có thêm ống kính tiềm vọng mà iFan mong chờ bấy lâu nay.
.jpg)
Apple nhận bằng sáng chế camera mới
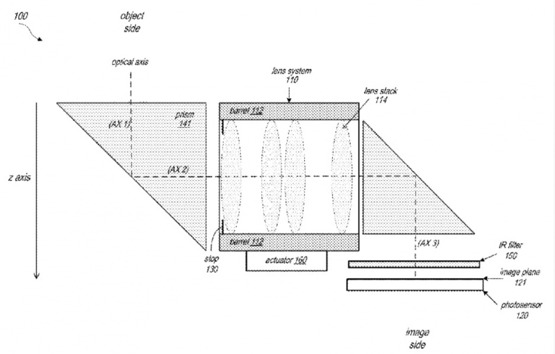
Mới đây Văn phòng Sáng chế và Nhãn hiệu Hoa Kỳ đã chấp nhận bằng sáng chế mới của Apple có tên “Folding Camera”. Theo mô tả thì Apple dường như đang làm việc để tích hợp mô-đun máy ảnh gồm nhiều ống kính vào một thiết bị di động, mang hiệu ứng hình ảnh tốt hơn. Lần này, mô-đun camera sẽ chứa 2 linh kiện giúp bẻ cong ánh sáng giống như lăng kính và một hệ thống thấu kính độc lập giữa 2 bộ phận này. Hệ thống thấu kính này có thể di chuyển độc lập với linh kiện, giúp bẻ cong ánh sáng, cung cấp khả năng tự động lấy nét và chống rung quang học.

Apple có thể chọn hình dạng, chất liệu và cách sắp xếp của các thành phần thấu kính khúc xạ trong nhóm thấu kính, cung cấp độ dài tiêu cự trở lại đủ dài để thích ứng với lăng kính thứ 2 nhằm mang lại hình ảnh sắc nét và có độ phân giải cao.
Báo cáo cũng gợi ý, bằng sáng chế này sẽ được đưa vào sử dụng năm 2022. Vì vậy, nếu được phát triển thành công thì khả năng iPhone 14 sẽ được ra mắt vào năm sau sẽ có khả năng zoom đến 10x và zoom 1000x. Nếu bạn là người yêu công nghệ camera nhưng muốn tối ưu chi phí, mẫu iPhone 14 Series cũ chính hãng là lựa chọn hợp lý để bạn tiếp cận sớm công nghệ camera mới của Apple, vừa có chính sách bảo hành chuẩn hãng vừa được hỗ trợ giá tốt hơn máy mới hoàn toàn.
Bạn thấy thông tin này thế nào? Theo dõi 24hStore thường xuyên để cập nhật các tin tức công nghệ mới nhất cũng như mua được những sản phẩm tốt hay tham khảo bảng giá iPhone cũ với giá ưu đãi nhất nhé! Liên hệ ngay 1900.0351 để được tư vấn khi mua hàng nha.
- Mua điện thoại iPhone 16 Pro Max cũ đẹp, lấy liền tại 24hStore
- Xem ngay điện thoại chính hãng iPhone 16 Pro cũ 128GB giá bao nhiêu
- Lựa ngay iPhone 16 Series cũ giá rẻ nhất tại TPHCM
- Mua iPhone 15 Series cũ giá rẻ nhất thị trường, góp 0%
- Sở hữu ngay iPhone 14 Pro Max cũ đủ VAT, đủ màu cực đẹp
- Bạn đã biết iPhone 14 Pro Max 512GB cũ giá bao nhiêu hiện nay chưa?
- iPhone 14 Pro cũ 256GB chính hãng, đầy đủ màu đẹp
- Điện thoại iPhone 14 Pro Max cũ 256GB, chính hãng, giá rẻ tại TP.HCM
- Tậu ngay iPhone 13 Series cũ giá rẻ chính hãng, trả góp 0% thủ tục đơn giản
- Tham khảo iPhone 16 128GB giá bao nhiêu tại TP.HCM
- iPhone 16 Plus cũ 128GB chính hãng Apple, giá cực HỜI
- Giá iPhone 16 Pro Max chính hãng, giá cực ưu đãi
iPhone 16 Pro Max 256GB Cũ chính hãng
24.490.000 đ