Apple sẽ nâng cấp hệ sinh thái truyền dữ liệu nhanh gấp 10 lần cáp truyền thống
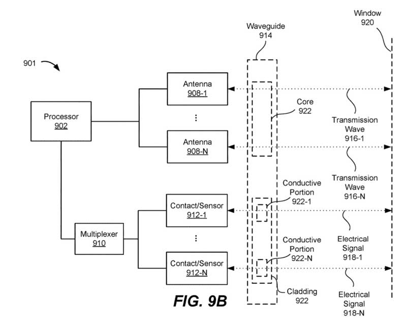
Theo như thông báo của USPTO, Apple sẽ nhận bằng sáng chế công nghệ mới và tích hợp ngay trên iPhone thế hệ mới. Một vỏ dẫn điện cho ống sóng sẽ nâng cấp tốc độ truyền dữ liệu đi cực kỳ nhanh chóng.
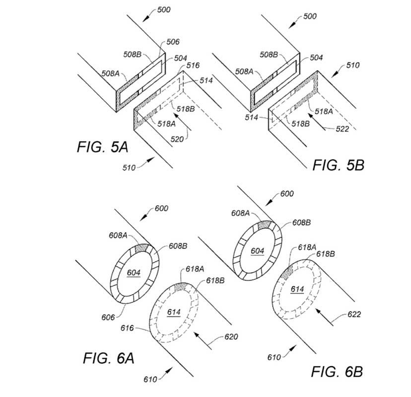
Cụ thể, bằng sáng chế đã được giới thiệu từ năm 2015, qua đó, Apple sẽ dùng loại dây dẫn điện có ống dẫn sóng để cải tiến khả năng truyền dữ liệu ở tốc độ cao cho hệ sinh thái Apple. Theo cách truyền thống dây dẫn của Apple vẫn sử dụng dây dẫn điện thể nhưng bị hạn chế khả năng truyền sóng hay dữ liệu do các điện trợ được tạo nên.

Với cáp bán dẫn kèm theo sóng siêu âm mới, Apple hoàn toàn có thể thiết kế với chất liệu chống nước để nó hoạt động hoàn hảo hơn. Cùng với đó là khả năng kết nối cũng như truyền dữ liệu từ nhiều phía, Apple cho hay thiết bị iPhone nhận sạc và truyền dữ liệu cực tốt ở tốc độ cao trên các thiết bị chạy hệ điều hành Android.

Nếu điều này được Apple triển khai thực hiện, trong tương lai không xa iOS sẽ được phép truyền dữ liệu hai chiều cực kỳ nhanh cho trong hệ sinh thái Apple cũng như các thiết bị từ nhà phát triển phần mềm Android. Mọi thông tin hay động thái mới nhất của Apple sẽ liên tục được chúng tôi cập nhật, thế nên hãy theo dõi các bài viết được cập nhật của chúng tôi.
Xem thêm: Apple tung phiên bản nâng cấp iOS 12.4 Beta 5 sửa lỗi iPhone, iPad
