Apple lấn sân sang thời trang: Sáng chế quần áo không khóa kéo!?
Luôn hướng tới vẻ ngoài tối giản sang trọng cho bất cứ thứ gì mà mình sản xuất, Apple đã đăng ký bằng sáng chế mới để loại bỏ những khóa kéo và dây buộc lằng nhằng trên quần áo thay vào đó là công nghệ nam châm từ tính độc lạ.
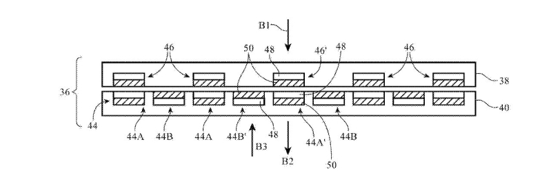
Bằng sáng chế mới của Apple
Gần đây nhất, mặt hàng thời trang mà Apple sản xuất là Ted Lasso cho quần áo và găng tay theo dõi sức khỏe. Hãng đang xem xét cách để tạo ra những chiếc túi và hộp đựng phụ kiện tốt hơn, phù hợp với tất cả các loại quần áo.

Theo đó, bằng sáng chế mới mà Apple đăng ký có tên gọi “Dây buộc từ tính”. Ý tưởng này xuất hiện khi Táo khuyết mong muốn thay thế tất cả các khóa kéo vì chúng “quá khủng khiếp”. Bằng sáng chế mô tả “Dây kéo được mở và đóng bằng cách di chuyển một thanh trượt giữa hai bộ răng xen kẽ nhau. Thay thế cho các khóa kéo quần áo thông thường. Một số dây buộc sử dụng nam châm, ví dụ như móc cài từ tính để cố định lỗ mở trong túi. Chốt khóa cũng có thể được hình thành từ các chốt và nút."
Apple cho rằng các khóa kéo rất khó coi và mất thời gian để đóng mở và móc cài từ tính sẽ giúp mọi việc trở lên nhanh chóng và đơn giản hơn bao giờ hết. Tuy nhiên, dựa theo bằng sáng chế của nhà Táo có thể nhận thấy khóa từ tính này không thể bịt kín được các khe hở và thậm chí còn tốn nhiều thời gian hơn khi sử dụng khóa kéo truyền thống.
Apple đề xuất sử dụng dây buộc từ tính ở phần đầu tiên và phía bên kia của đường may là nam châm. Việc sử dụng nam châm này được đề cập trong một bằng sáng chế riêng biệt có tên là “Vỏ bọc móc khóa từ tính linh hoạt”. Theo đó khi dây buộc từ hoạt động ở trạng thái đóng các nam châm ở phần thứ nhất và thứ hai hút nhau, phần kéo buộc lại với nhau để đóng đường nối. Nói cách khác, nam châm giúp người dùng đóng khóa kéo một cách an toàn và mở đường may không tốn nhiều công sức. Nghe có vẻ phức tạp, bạn đọc có thể hình dung qua phần hình minh họa dưới đây.
Ngoài ra, tham khảo ngay Temu là gì mà gần đây được nhắc đến rất nhiều trên báo chí. Ngoài ra, khám phá ngay cách chụp ảnh không bị ngược trên iPhone nếu bạn selfie ảnh bị ngược.

Có thể kỳ vọng trong tương lai chúng ta được nhìn thấy một chiếc áo khoác Apple có từ tính hay thậm chí là một buổi biểu diễn thời trang trên sàn catwalk khi Apple tổ chức các buổi giới thiệu sản phẩm trực tiếp. Thật thú vị khi bạn có thể kéo khóa quần áo hay buộc dây giày bằng khẩu lệnh Siri và điều chỉnh kích thước như trong “Back to the Future II”. Thực tế hơn, Apple sẽ áp dụng sáng tạo này vào những chiếc túi đựng sản phẩm của hãng.
Không thể phủ nhận sự sáng tạo của Apple với hàng loạt bằng sáng chế hiệu quả, tuy chưa biết thực tế ra sao. Nhưng loạt công nghệ của nhà Táo khuyết đã khuấy đảo thị trường công nghệ, dẫn đầu xu hướng và buộc các đối thủ phải liên tục chạy theo. Dễ hiểu khi Apple trở thành một trong những công ty công nghệ hàng đầu thế giới hiện nay.
Xem ngay cách xác thực tài khoản zalo để bảo mật cho tài khoản của bạn tốt hơn, tránh bị giả mạo tài khoản. Thực hiện ngay cách ghim bình luận trên TikTok để tăng thêm tương tác cho kênh TikTok.
Bên cạnh đó, dành cho những bạn yêu thích các sản phẩm công nghệ hàng đầu nhà Táo khuyết có thể ghé thăm cửa hàng 24hStore. Đây là hệ thống ủy quyền chính hãng của Apple tại Việt Nam, đến với 24hStore bạn sẽ được trải nghiệm mua sắm chính hãng và các quy trình dịch vụ theo đúng chuẩn Apple. Tham khảo ngay dòng iPhone 13 Series bán chạy nhất thị trường smartphone hiện nay trên website cửa hàng hoặc liên hệ trước qua hotline 1900.0351 để nhận ưu đãi tối đa.
Xem thêm: 10 bằng sáng chế gây lú của Apple!
Khám phá bài viết hữu ích:
Cách mở chặn Telegram nhanh để mở chặn hiển thị nhóm
Thực hiện cách khoá bình luận FB để riêng tư hơn
Truy cập link cài đặt tiếng việt cho Telegram để đổi sang tiếng Việt
Cách lấy lại mật khẩu Zalo trên điện thoại nếu lỡ quên mật khẩu
Thực hiện ngay cách đăng ký mạng Viettel 5k 1 ngày để đăng ký gói 4G tiết kiệm
Cách xóa tin nhắn sau 1 ngày nếu lỡ gửi nhầm tin nhắn