Thêm bằng chứng iPhone mới sẽ được trang bị Touch ID dưới màn hình
Apple vừa qua đã chính thức đăng ký bằng sáng chế Touch ID bên dưới màn hình sau một thời gian dài nghiên cứu. Bằng sáng chế này dự báo về tương lai của các thế hệ iPhone mới sẽ là mẫu smartphone tràn viền thật sự, nói không với “tai thỏ” hay “nốt ruồi”.

Đại dịch Covid-19 diễn ra khiến cho công nghệ mở khóa gương mặt Face ID hoạt động kém hiệu quả hơn khi những người sử dụng điện thoại thông minh phải đeo khẩu trang. Bên cạnh đó, thiết kế “tai thỏ” đã được giữ nguyên qua 2 thế hệ và nhất là thế hệ 12 sắp tới cũng không có sự thay đổi về mặt thiết kế. Do đó, việc Apple đăng ký bằng sáng chế vân tay dưới màn hình nhiều khả năng sẽ mở ra cho thế hệ iPhone 13 một thiết kế với màn hình không khiếm khuyết.
Tại sao là Touch ID mà không phải Face ID dưới màn hình trên iPhone mới?
iPhone X ra đời được xem là một cột mốc quan trọng của hãng táo khuyết khi bỏ đi nút home vân tay truyền thống. Sau thế hệ iPhone X, lần lượt Xs và 11 và sắp tới đây là thế hệ 12 vẫn trung thành với lối thiết kế có phần nhàm chán này. Trong bối cảnh dịch bệnh diễn biến phức tạp, công nghệ Face ID sẽ khó nhận diện người dùng hơn do người dùng đeo khẩu trang. Thiết kế cũ, tính hiệu quả giảm đi khiến cho việc đăng ký bằng sáng chế công nghệ cảm biến vân tay dưới màn hình của Apple dự đoán sẽ mang lại luồng gió mới cho những thế hệ iPhone tiếp theo.
.jpg)
Song song đó, công nghệ Touch ID sẽ mang đến cho hãng “táo khuyết” giải pháp an toàn hơn do nhiều hãng Android đã áp dụng thành công nghệ này trên nhiều sản phẩm. Bên cạnh đó, dù được ZTE áp dụng trên mẫu smartphone Axon 20 Pro nhưng chắc chắn công nghệ camera bên dưới màn hình sẽ cần phải có thời gian dài trải nghiệm mới đánh giá được mức độ hiệu quả. Do đó, không có gì khó hiểu khi Apple sẽ chọn lựa Touch ID thay vì Face ID để phát triển.

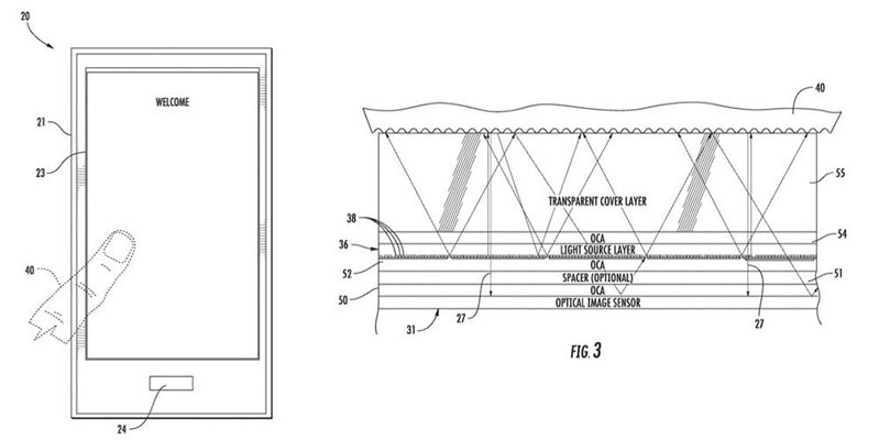
Theo tiết lộ từ trang Patenly Apple, công nghệ Touch ID mới sẽ được phát triển với cảm biến lớn gần như phủ sóng toàn bộ màn hình. Điều này sẽ cho phép người dùng thoải mái mở khóa màn hình mà không phụ thuộc vào vị trí đặt cố định của cảm biến. Nếu được áp dụng thế hệ iPhone mới chắc hẳn sẽ mang lại cảm giác sử dụng thoải mái, liền mạch khi mà giờ đây chỉ với một cú chạm bạn hoàn toàn có thể xác thực cài đặt ứng dụng hay tài khoản ngân hàng.

Thực tế, Apple đã được cấp bằng sáng chế cho rất nhiều thứ mà hãng không bao giờ đưa ra thị trường. Nhưng trong trường hợp này bằng sáng chế cho Touch ID dưới màn hình sẽ phù hợp với tham vọng loại bỏ tai thỏ cho một chiếc iPhone thế hệ mới trong tương lai.
24hstore.vn hân hạnh mang đến cho bạn thông tin này. Chúng tôi chuyên cung cấp các sản phẩm iPhone với mức giá ưu đãi tốt nhất thị trường, Ở ĐÂU RẺ HƠN HOÀN TIỀN CHÊNH LỆCH đi kèm với chế độ hậu mãi, bảo hành đến 10 năm đối với iPhone cũ và 12 tháng đối với điện thoại iPhone, đảm bảo sẽ mang đến sự hài lòng cho quý khách. Nếu bạn quan tâm hãy gọi đến Hotline 1900 0351 hay đến trực tiếp các cửa hàng thuộc hệ thống 24hstore.vn để nhận được sự tư vấn và những ưu đãi tốt nhất!
Xem thêm: Bằng sáng chế iPhone với hệ thống chống nước như Apple Watch
iPhone 13 128GB Cũ chính hãng
7.990.000 đ