Đối đầu Galaxy Z Fold 2, Apple sắp ra mắt iPhone màn hình gập
Động thái mới của hãng “táo khuyết” cho thấy hãng chuẩn bị cho việc sẽ ra mắt một mẫu smartphone màn hình gập trong tương lai với những khả năng đặc biệt.

Thời gian gần đây, Apple đã đăng ký nhiều bằng sáng chế cho thấy hãng công nghệ Mỹ đang quyết tâm thay đổi chiến lược. Trong đó, những bằng sáng chế này hé lộ về việc hãng sẽ trình làng những chiếc iPhone độc lạ, trong đó sẽ có một mẫu mẫu điện thoại màn hình gập như Galaxy Z Fold.
iPhone màn hình gập của Apple sẽ trông như thế nào?
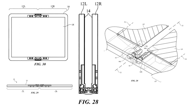
Thông tin gần đây cho thấy hãng công nghệ Mỹ đã nộp đơn cho bằng sáng chế về một mẫu iPhone màn hình gập, trong đó nổi bật với khả năng sửa chữa. Bằng sáng chế của Apple cho thấy những mẫu điện thoại mới của hãng trong tương lai sẽ khắc phục những sự cố xảy ra với Galaxy Z Fold.

Bằng sáng chế này có một điểm nổi bật chính là khả năng “tự hồi phục” mà không có bất có sự can thiệp nào từ phía người dùng. Trong đó, iPhone sẽ sử dụng một loại vật liệu đặc biệt phủ lên màn hình, với khả năng khắc phục những vết lõm, vết xước, hay vết hằn khi gập mở thường xuyên.
Apple ít khi vội vã trong việc đăng ký các bằng sáng chế, thế nhưng trong thời gian gần đây hãng đã nhanh chóng đăng ký và áp dụng nó vào sản phẩm của mình. Chẳng hạn, trước đây, Apple đã đăng ký Touch ID tích hợp vào nút nguồn. Sau đó, mẫu iPad Air 4 đã sở hữu công nghệ này. Như vậy, với việc đăng ký bằng sáng chế màn hình gập, có thể sang năm hãng công nghệ đến từ Curtino sẽ ra mắt một mẫu iPhone màn hình gập tương tự Galaxy Z Fold.

Trong thực tế, có rất nhiều concept về iPhone màn hình gập. Trong thời điểm vừa qua đã xuất hiện iPhone 12 gập theo dạng Flip với cơ chế trượt độc đáo. Và chắc hẳn, những mẫu smartphone này khi ra mắt sẽ thu hút được đông đảo tín đồ công nghệ tìm mua, bởi lẽ, những sản phẩm của nhà Táo luôn được đánh giá cao về mặt thiết kế. Triết lí thiết kế của iPhone luôn đơn giản nhưng lại sang trọng và cao cấp, đi kèm với những trang bị công nghệ cực kì độc đáo.
24hStore xin phép mang thông tin thú vị này đến bạn. Nếu bạn đang muốn tìm mua những mẫu iPhone với mức giá tốt nhất, Ở ĐÂU RẺ HƠN HOÀN TIỀN CHÊNH LỆCH, kèm chế độ bảo hành lên đến 10 năm với iPhone cũ và 1 đổi 1 tiêu chuẩn Apple với giá iPhone chính hãng VN/A thì hãy liên hệ đến Hotline: 1900.0351 hay đến trực tiếp các cửa hàng thuộc hệ thống 24hStore để được tư vấn và hỗ trợ nhé!
Xem thêm: iPhone 12 chưa ra mắt đã có bản độ đỉnh với giá lên đến 9.990 đô
Tham khảo các siêu phẩm đình đám bán chạy nhất nhà "Táo" vừa cập bến tại 24hStore:
- Lên đời iPhone 16 thường 128GB chính hãng, trả góp 0đ tại 24hStore
iPhone 16 Pro Max 256GB Cũ chính hãng
23.990.000 đ