Apple Pencil thế hệ tiếp theo có thể sẽ đi kèm cảm biến màu sắc thực tế
Theo những thông tin trên các nền tảng mạng xã hội thì mới đây Apple đã nộp một bằng sáng chế cho chiếc Apple Pencil thế hệ tiếp theo của mình cho văn phòng bằng sáng chế và thương hiệu Hoa Kỳ (USPTO). Bằng sáng chế này cho thấy thế hệ tiếp theo của thiết bị này sẽ có thể đi kèm với cảm biến màu sắc thực tế.

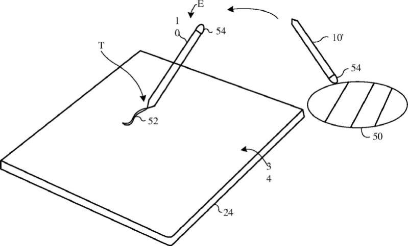
Bằng sáng chế mới của Apple cho thấy một hệ thống máy tính bảng và một chiếc bút có tính năng lấy mẫu màu. Theo như mô tả thì chiếc bút này có cảm biến màu sắc ở đầu bút và bộ tách sóng quang để phân tích được các màu sắc khác nhau và cho đúng về màu sắc đó trên thiết bị.
Theo một video clip đươc rò rỉ trên mạng thì Apple Pencil thế hệ mới sẽ có thực sự có ích trong lĩnh vực mỹ thuật và thiết kế. Bạn có thể dùng bút để lấy màu sắc ở khung cảnh thực tế như lấy màu lá, màu hoa, màu đất và tái hiện nó lại chính xác trên thiết bị của mình mà không sợ sai lệch về màu sắc ở trên những thiết bị khác nhau với những màn hình khác nhau. Nó giảm thiểu tối đa sự sai lệch trong màu sắc của ngành thiết kế và giúp cho mọi thứ chân thực hơn qua màn ảnh.

Hình ảnh về bằng sáng chế của Apple dành cho bút thế hệ mới
Trước đây thì Apple cũng đã nộp rất nhiều bằng sáng chế và cũng đã có nhiều bản thiết kế, sáng chế chỉ dừng lại ở mức ý tưởng và có thể là lần này cũng vậy. Nhưng cũng hy vọng rằng Apple sẽ tập trung và có đủ cơ sở để thực sự phát triển cảm biến này trên Apple Pencil thế hệ tiếp theo và góp một phần vào sự phát triển của ngành đồ họa thiết kế trong tương lai.
24hStore.vn hân hạnh mang đến cho bạn những thông tin mới nhất về chuyển động của thế giới công nghệ.